LM339(四路差動比較器)是在電壓比較器芯片內部裝有四個獨立的電壓比較器,是一種常見的集成電路,主要應用于高壓數字邏輯門電路。利用lm339可以方便的組成各種電壓比較器電路和振蕩器電路。

特點
(1)失調電壓小,典型值為2mV;
(2)電源電壓范圍寬,單電源為2-36V,雙電源電壓為±1V-±18V;
(3)對比較信號源的內阻限制較寬;
(4)共模范圍很大,為0~(Ucc-1.5V)Vo;
(5)差動輸入電壓范圍較大,大到可以等于電源電壓;
(6)輸出端電位可靈活方便地選用。
引腳功能
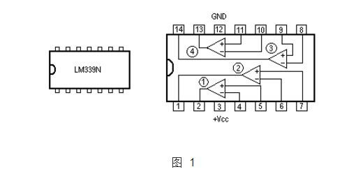
LM339集成塊采用C-14型封裝,圖1為外型及管腳排列圖。由于LM339 使用靈活,應用廣泛,所以世界上各大IC(MN15284KNP)生產廠、公司竟相推出自己的四比較器,如IR2339、ANI339、SF339、SAA7325H/M2B等,它們的參數基本一致,可互換使用。


LM339類似于增益不可調的運算放大器。每個比較器有兩個輸入端和一個輸出端。兩個輸入端一個稱為同相輸入端,用“+”表示,另一個稱為反相輸入端,用“-”表示。用作比較兩個電壓時,任意一個輸入端加一個固定電壓做參考電壓(也稱為門限電平,它可選擇LM339輸入共模范圍的任何一點),另一端加一個待比較的信號電壓。當“+”端電壓高于“-”端時,輸出管截止,相當于輸出端開路。當“-”端電壓高于“+”端時,輸出管飽和,相當于輸出端接低電位。兩個輸入端電壓差別大于10mV就能確保輸出能從一種狀態可靠地轉換到另一種狀態,因此,把LM339用在弱信號檢測等場合是比較理想的。LM339的輸出端相當于一只不接集電極電阻的晶體三極管,在使用時輸出端到正電源一般須接一只電阻(稱為上拉電阻,選3-15K)。選不同阻值的上拉電阻會影響輸出端高電位的值。因為當輸出晶體三極管截止時,它的集電極電壓基本上取決于上拉電阻與負載的值。另外,各比較器的輸出端允許連接在一起使用。
LM339主要參數表:

電特性(除非特別說明,VCC=5.0V, Tamb=25℃)

LM339應用
(1)此種電路應用非常廣泛,用在非穩態多諧振蕩器電路中,用在單穩態觸發器,TTL/MOS邏輯變換器,也可用在可任意改變邏輯工作電壓的三端輸入“與”門電路中。
(2)利用LM39構成的各種振蕩器如下圖所示,電路為電壓控制振蕩器,其工作頻率由輸入電壓決定的,電壓控制振蕩器的兩種重要應用為鎖相環及模擬遙控系統,此種電路可提供兩種輸出波形“方波與三角波”,輸入的控制電壓由Rl電位器組成的分壓器提供的,也可使用其它的控制電壓,只要把Rl電位器去掉,將控制信弓接到電壓控制振蕩器的輸入端與地之間就可以了

(3)LM339的業余應用
可作為溫控檢測電路,如下圖所示,溫度控制器決定其報警檢測電路的工作的閥門值,當溫度超過設定的工作溫度時,輸出反轉帶動負載發生器報警,如果把兩個這種比較器的輸出端連在一起,就可以組成一個有上下限的溫度控制報警器。如果需要電流大的時候,可以用三極管來擴展。

使用說明
LM339是高增益,寬頻帶器件,像大多數比較器一樣,如果輸出端到輸入端有寄生電容而產生耦合,則很容易產生振蕩。這種現象僅僅出現在當比較器改變狀態時,輸出電壓過渡的間隙。電源加旁路濾波并不能解決這個問題,標準PC板的設計對減小輸入—輸出寄生電容耦合是有助的。減小輸入電阻至小于10K將減小反饋信號,而且增加甚至很小的正反饋量(滯回1.0~10mV)能導致快速轉換,使得不可能產生由于寄生電容引起的振蕩。除非利用滯后,否則直接插入IC并在引腳上加上電阻將引起輸入—輸出在很短的轉換周期內振蕩,如果輸入信號是脈沖波形,并且上升和下降時間相當快,則滯回將不需要。

比較器的所有沒有用的引腳必須接地。
LM339偏置網絡確立了其靜態電流與電源電壓范圍 2.0~30V無關。
通常電源不需要加旁路電容。
差分輸入電壓可以大于Vcc并不損壞器件。保護部分必須能阻止輸入電壓向負端超過-0.3V。
LM339的輸出部分是集電極開路,發射極接地的 NPN輸出晶體管,可以用多集電極輸出提供或 OR ing功能。輸出負載電阻能銜接在可允許電源電壓范圍內的任何電源電壓上,不受 Vcc端電壓值的限制。此輸出能作為一個簡單的對地SPS開路(當不用負載電阻沒被運用),輸出部分的陷電流被可能得到的驅動和器件的β值所限制。當達到極限電流(16mA)時,輸出晶體管將退出而且輸出電壓將很快上升。輸出飽和電壓被輸出晶體管大約60ohm 的γSAT限制。當負載電流很小時,輸出晶體管的低失調電壓(約1.0mV)允許輸出箝位在零電平。
電話:18923864027(同微信)
QQ:709211280
〈烜芯微/XXW〉專業制造二極管,三極管,MOS管,橋堆等,20年,工廠直銷省20%,上萬家電路電器生產企業選用,專業的工程師幫您穩定好每一批產品,如果您有遇到什么需要幫助解決的,可以直接聯系下方的聯系號碼或加QQ/微信,由我們的銷售經理給您精準的報價以及產品介紹

